电动摩托车一直面临着核心布局难题:电池体积庞大、电机结构厚重,很容易让整车宽度超标。这不仅会压缩车辆倾角,破坏人体工程学设计,还会让整车操控感远不如传统燃油摩托车。杜卡迪显然深谙这一痛点,近期,他们为一款电动摩托车传动系统提交了全新专利,通过巧移传感器,破解车身过宽难题。与此同时,杜卡迪也通过这一专利,回答了所有人关心的核心问题:杜卡迪终于要认真布局街道版电动摩托车了吗?

仔细研究这份专利便能发现,这绝非杜卡迪为了标榜 “拥有电动街车” 而仓促打造的通勤代步方案。专利布局显示,新车将搭载一台横向布置的电机,最高转速可达约18500r/min,动力经多级齿轮减速后,通过链条传递至后轮。从这一设计可以看出,新车是一台力求复刻燃油摩托车驾驶特性的电动车型。
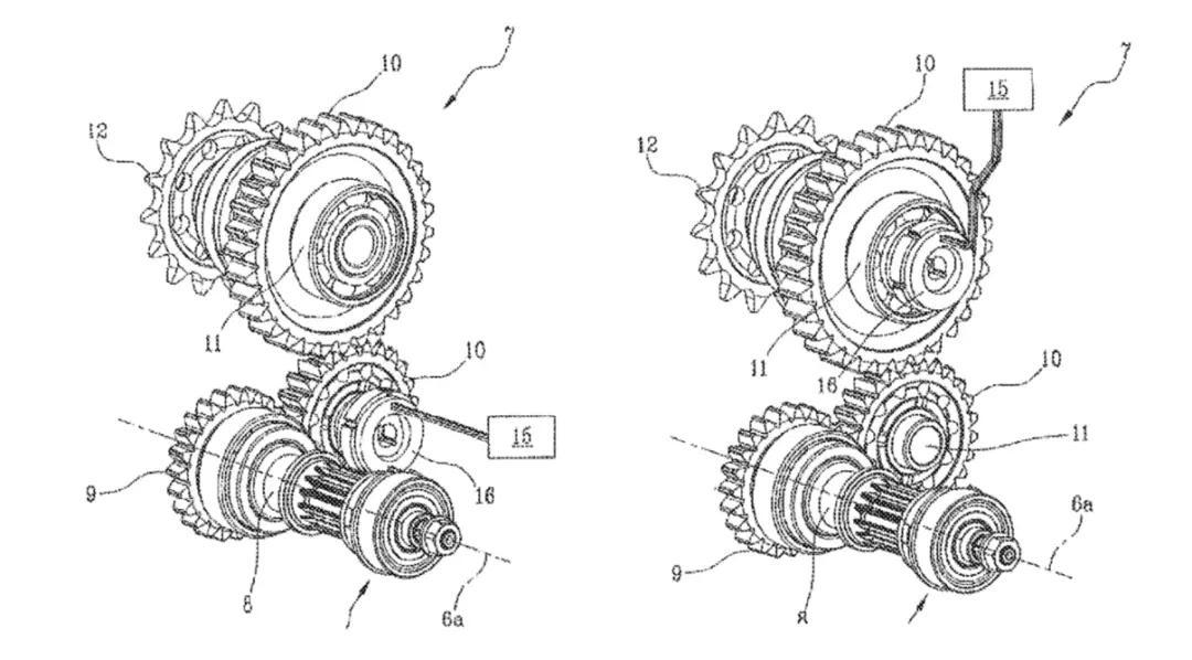
杜卡迪并未通过加装额外部件来扩充电机体积,而是将核心零部件彻底移位。电机需要依靠位置传感器实时监测转子位置,以此通过磁场定向控制等技术,精准调控扭矩输出、能效与行驶平顺性。通常这类传感器会直接安装在电机轴上,结构简单且定位精准,却会增加车身宽度 —— 而这正是杜卡迪极力避免的。
为此,杜卡迪采用了巧妙设计:将位置传感器移至变速箱处,具体安装在电机下游的其中一根变速箱轴上。

系统不再直接读取转子数据,而是通过监测齿轮转速,结合已知齿比推算转子位置。这种间接监测看似是技术妥协,却大幅优化了整车布局:电机结构更紧凑,车身更纤薄,整车比例也更贴合杜卡迪一贯的设计质感。
当然,这一设计并非完美。通过变速箱读取位置数据存在误差隐患,齿轮间隙、加工公差与机械旷量都会影响数据精度,对于数千转下的精准扭矩调控而言并不理想。但如果说有哪家品牌愿意牺牲机械结构的简洁性,换取性能与软件层面的突破,那必然是杜卡迪 —— 他们会通过技术调校弥补这一缺陷。
专利中还有更多细节设计:变速箱采用多平面齿轮堆叠结构,而非单层宽体布局,简单来说就是让变速箱“纵向加高”而非“横向加宽”。所有设计都指向同一个目标:严控车身宽度。
综合所有设计不难看出,杜卡迪并未尝试另类的电动化布局,而是坚持沿用成熟方案:中置电机、齿轮减速、链条传动、紧凑车架。这是其数十年沿用的经典燃油车架构,只是完成了电动化升级。

这一思路也与 MotoE 赛事所用 V21L 赛车一脉相承。该款车型并非工具化的电动代步车,而是纯粹的电动赛车,搭载高转速电机、强悍动力输出,车架调校依旧侧重操控质感。这份专利正是赛事技术的民用化延伸,旨在将赛道经验落地至公路车型,同时避免整车变得臃肿冗余。
这是否意味着杜卡迪电动街车即将量产?答案尚不能完全确定。
专利解决的是技术问题,而非量产时间表。这份专利攻克了车身宽度与布局的特定难题,却未透露量产落地的时间,甚至未明确是否会量产。但它清晰展现了杜卡迪的研发重心:他们不再纠结“是否要造电动街车”,而是聚焦“如何让电动车型拥有纯正的杜卡迪驾控体验”。
启泰网提示:文章来自网络,不代表本站观点。